盛夏,上海外滩的霓虹依旧闪烁,但位于黄浦江畔的闽商巨头——均和集团总部大楼已人去楼空。近日,这家由福建长乐籍商人创立的千亿企业深陷“暴雷”等负面传闻:5000多名员工失业,面临246亿元债务,供应商货款无着,福州地产项目延迟交房……
曾位列中国500强、年营收千亿的闽商商业帝国为何突然资金链断裂?均和集团的崩塌,不仅标志着一个企业的陨落,更似乎揭开了部分企业依赖“贸易游戏”维持的资本迷局。

欠薪裁员,负面消息不断
危机的征兆早在2024年中浮现。据传,上海均和集团从2024年员工工资就出现了拖延支付,今年5月中旬逐渐停摆,到月通知全部员工自行离职:如果员工配合离职可以把工资结算到5月底和缴纳5月社保,不提供经济赔偿,但若不配合离职,5月工资将不再支付。
今年6月,均和全国多地产业园遭查封。合肥均和云谷园区大门被法院贴上封条时,二十余家入驻企业被迫中断生产。同期上海警方立案调查涉及“巨额合同欺诈”嫌疑。
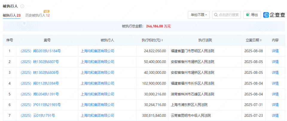
据企查查数据显示:均和集团有23条被执行人信息,总金额246.19亿元;旗下7家子公司股权冻结;实控人何旗被限制高消费。上海黄埔区税务局公示的欠税公告显示,均和拖欠企业所得税及个人所得税合计53.64万元。

而在福州长乐滨海新城的“均和前湾”项目工地上,塔吊已静止三个月。从2025年3月推到6月,最新告知“交付无期”。这个由均和参股企业开发的楼盘,420套住宅仅售出88套,工地保安透露:“钢筋被供应商拉走抵债了。”
80后长乐首富的辉煌:从钢铁少年到地产大佬
在均和集团总部门厅的荣誉墙上,实控人何旗与各级领导的合影仍未被撤下。这位1982年出生的福建商人,曾书写过令人眩目的创富神话。

17岁接手父亲公司,2003赴上海创立均和金属,凭借对钢铁贸易的敏锐嗅觉,迅速成为宝钢一级代理商。2008年金融危机中,他冒险抄底海外废钢资源,建立起横跨菲律宾、厦门、上海的贸易网络。
同年,何旗回到福建,在厦门创办(均和)厦门有限公司,何旗亲任董事长,进一步拓展业务版图。
何旗的财富裂变始于2015年,这一年何旗嗅到了金融资本的魔力,大举进军金融投资领域:参股九江银行、申港证券,成立均和商业保理、孚玉基金,甚至参与江西银行H股上市。
这一时期,何旗的商业帝国主要围绕大宗贸易+金融资本。
2018年,均和集团迎来高光时刻:
上海均和与厦门均和同时跻身中国民营企业500强,分列第52位与第192位;
何旗个人财富随之飙升至80亿元,强势登上胡润百富榜第483位,稳坐福建长乐首富宝座。
2020年,何旗又将目光瞄向了文化旅游地产板块,并开始进军产业园区,推出均和云谷品牌。
自2018年至今,均和集团已先后布局福州多个项目。其中,在长乐布局打造有国际健康养生城长乐·椿萱乐(吴航)、均和长乐府(营前)、均和前湾(滨海新城)等养老、商业居住项目。在永泰则布局有均和雨山前、均和源玺。

另外,均和在福州开发的产业园项目还包括均和云谷·滨海科创产业园、均和云谷·东南科创总部(闽侯)等。
转折发生在2023年。福州招商会上短暂露面后,何旗再未出现在公众视野,“至少两年没在国内见过他”公司员工透露。当2025年危机爆发时,这位千亿企业的掌门人,被爆已长期“旅居”日本。
贸易空转的高风险游戏
其实均和的商业运营模式并不复杂,大宗贸易+金融资本+产业园开发,而这套曾被地方城投热捧的模式,却被大众质疑。
据媒体指出,均和集团与地方城投成立合资公司,城投持股51%并合并报表,均和持股49%负责日常经营。双方签订“钢材购销”合同,但货物并未实际流转,这种“左手倒右手”的交易,既帮城投公司粉饰报表以获取更高债券评级,又为均和带来银行授信。
某银行风控主管透露:“2023年我们发现均和一笔5亿元贷款中,抵押的钢材货权同时在福州、厦门、浦东三地登记。”
均和融得资金并未投入实体贸易,而是流向产业园开发,并以此换取地方政府的低价产业用地,开发园区,名义招商、实则出售厂房。
当2023年国家严查贸易空转、2024年房地产持续低迷,回款枯竭,短期债务到期压力瞬间引爆,这个击鼓传花的资本游戏终于走到尽头。

8月12日,均和集团公众号发布声明,否认存在PPP/BT项目及违规贸易,强调“四流一致”。但这份澄清,在法院诉讼与总部大楼讨薪员工前却显得有点苍白无力。
其实,均和的没落并非孤例。雪松控股、正威集团、多弗集团等都是靠大宗商品融资,然后拿钱去搞房地产,地产崩盘资金链断裂的相同剧本。当企业沉迷于用资本游戏替代实体经营,用监管套利取代产品创新,再庞大的商业帝国也不过是沙上城堡。
来源:闽商网(综合整理)
图片来自网络侵删
编辑:沈冬妮
审核:张建忠









事件记录


电话:0591-87851720
传真:0591-87851720
邮箱:minswx@163.com
地址:福州市晋安区数字内容产业园
法律顾问:福建宏飞律师事务所 吴跃华 主任律师
